పోలరైజర్స్: LCD స్క్రీన్‌ల "ఆప్టికల్ గేట్‌కీపర్స్"

మీరు LCD స్క్రీన్‌పై శక్తివంతమైన చిత్రాలను మెచ్చుకున్నప్పుడు, ఒక అకారణంగా సాధారణ సన్నని చలనచిత్రం కీలకమైన, ఇంకా తరచుగా కనిపించని పాత్రను పోషిస్తుంది-పోలరైజర్. ఈ అధునాతన ఆప్టికల్ కాంపోనెంట్ ఒక ఖచ్చితమైన "గేట్ కీపర్" వలె పని చేస్తుంది, ఇది లిక్విడ్ క్రిస్టల్ డిస్‌ప్లే (LCD) సాంకేతికతకు ఇది అనివార్యమైన కాంతి ప్రవేశాన్ని మరియు నిష్క్రమణను నియంత్రిస్తుంది.


బైడైరెక్షనల్ లైట్ గేట్

LCDలు ప్రకాశం కోసం బ్యాక్‌లైట్ యూనిట్‌లపై ఆధారపడతాయి. పోలరైజర్ యొక్క ప్రధాన విధి రెండు రెట్లు:

ఇన్‌పుట్ ఫిల్టరింగ్ (బాటమ్ పోలరైజర్): బ్యాక్‌లైట్ నుండి అస్తవ్యస్తమైన, ధ్రువపరచబడని సహజ కాంతిని ఏకరీతి కంపన దిశతో ధ్రువణ కాంతిగా మారుస్తుంది.

అవుట్‌పుట్ నియంత్రణ (టాప్ పోలరైజర్): దిగువ ధ్రువణానికి 90 డిగ్రీలు లంబంగా ఓరియంటెడ్. లిక్విడ్ క్రిస్టల్ అణువులు టాప్ పోలరైజర్ యొక్క "పాస్ కండిషన్"కి సరిపోయేలా ధ్రువణ దిశను విజయవంతంగా తిప్పి, కనిపించే ఇమేజ్‌ను రూపొందించే కాంతి/చీకటి నమూనాలను సృష్టిస్తే మాత్రమే కాంతి గుండా వెళుతుంది.

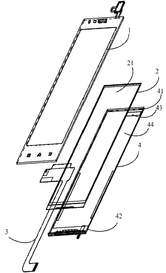
ది ప్రెసిషన్ ఫైవ్-లేయర్ "శాండ్‌విచ్" స్ట్రక్చర్

పోలరైజర్ అనేది ఐదు ఫంక్షనల్ లేయర్‌ల యొక్క ఖచ్చితమైన ఇంజనీరింగ్ మిశ్రమం:

TAC ఫిల్మ్ (ట్రియాసిటైల్ సెల్యులోజ్ - టాప్ & బాటమ్ లేయర్‌లు): "బలమైన షీల్డ్" మరియు "ఆప్టికల్ కాంపెన్సేటర్"గా పనిచేస్తుంది. భౌతిక రక్షణ (స్క్రాచ్, తేమ నిరోధకత) అందిస్తుంది మరియు తక్కువ ఆప్టికల్ రిటార్డేషన్ ప్రాపర్టీ కారణంగా ఆప్టికల్ డిస్టార్షన్‌ను భర్తీ చేస్తుంది, రంగు స్వచ్ఛత మరియు కనిష్ట ఇమేజ్ వక్రీకరణకు భరోసా ఇస్తుంది.

PVA ఫిల్మ్ (పాలీవినైల్ ఆల్కహాల్ - కోర్ లేయర్): "పోలరైజ్డ్ లైట్ జనరేటర్." సాగదీయడం మరియు రంగు వేయడం (అయోడిన్ లేదా డైక్రోయిక్) ద్వారా, దాని పరమాణు గొలుసులు సమలేఖనం చేయబడి, బలమైన డైక్రోయిజంను ప్రదర్శిస్తాయి - ఒక కంపన దిశలో కాంతి తరంగాలను గ్రహించి, దానికి లంబంగా ప్రసారం చేస్తూ, ధ్రువణ కాంతిని సమర్ధవంతంగా ఉత్పత్తి చేస్తుంది. దీని పనితీరు పోలరైజర్ యొక్క సామర్థ్యాన్ని (పోలరైజేషన్ డిగ్రీ) మరియు ట్రాన్స్‌మిటెన్స్‌ని నిర్వచిస్తుంది.

ప్రెజర్ సెన్సిటివ్ అడెసివ్ (PSA): "అదృశ్య బంధం ఏజెంట్." లిక్విడ్ క్రిస్టల్ గ్లాస్ సెల్ సబ్‌స్ట్రేట్‌పై పోలరైజర్ అసెంబ్లీని సురక్షితంగా మరియు ఏకరీతిగా లామినేట్ చేస్తుంది. అధిక పారదర్శకత, దీర్ఘకాలిక స్థిరత్వం, వాతావరణ నిరోధకత, తుప్పు పట్టకుండా ఉండడం మరియు కనిష్ట బబుల్/లోపం ఏర్పడటం అవసరం.

విడుదల చిత్రం: "రవాణా రక్షకుడు." PSA పొరను ఉత్పత్తి, షిప్పింగ్ మరియు నిల్వ సమయంలో కాలుష్యం మరియు ప్రమాదవశాత్తూ అతుక్కోకుండా కాపాడుతుంది. ప్యానెల్ ఫ్యాక్టరీలో లామినేషన్ ప్రక్రియకు ముందు ఇది ఒలిచి తీసివేయబడుతుంది.

భవిష్యత్ డిమాండ్ల కోసం నిరంతర పరిణామం

అధిక చిత్ర నాణ్యత (4K/8K, HDR), విస్తృత వీక్షణ కోణాలు, సన్నగా ఉండే ప్రొఫైల్‌లు మరియు ఫ్లెక్సిబిలిటీని అనుసరించడం ద్వారా పోలరైజర్ టెక్నాలజీలో నిరంతర ఆవిష్కరణలు జరుగుతాయి:

సన్నగా ఉండే ప్రొఫైల్‌లు: సన్నగా ఉండే TAC లేదా COP (సైక్లో ఒలెఫిన్ పాలిమర్) లేదా PET ఫిల్మ్‌ల వంటి ప్రత్యామ్నాయ పదార్థాల స్వీకరణ.

మెరుగైన పనితీరు: ట్రాన్స్‌మిటెన్స్ మరియు కాంట్రాస్ట్ రేషియో పెంచడానికి PVA ప్రాసెసింగ్ ఆప్టిమైజేషన్.

విస్తృత వీక్షణ కోణాలు: స్వాభావిక LCD వీక్షణ కోణ పరిమితులను తగ్గించడానికి ఆప్టికల్ పరిహారం ఫిల్మ్‌ల ఏకీకరణ.

ఫ్లెక్సిబిలిటీ: ఫోల్డబుల్ డిస్‌ప్లేలు మరియు ఫ్లెక్సిబుల్ OLEDలకు అనుకూలంగా ఉండే ఫ్లెక్సిబుల్ పోలరైజర్‌ల అభివృద్ధి.


CNK గురించి

2010లో షెన్‌జెన్‌లో స్థాపించబడిన CNK ఎలక్ట్రానిక్స్ (క్లుప్తంగా CNK) 2019లో లాంగ్‌యాన్, ఫుజియాన్‌లో ప్రపంచంలోని ప్రముఖ ఫ్యాక్టరీని విస్తరించింది. ఇది ప్రదర్శన ఉత్పత్తుల రూపకల్పన, అభివృద్ధి, ఉత్పత్తి మరియు విక్రయాలలో ప్రత్యేకత కలిగిన ప్రత్యేకమైన మరియు వినూత్న సంస్థ. CNK వినియోగదారులకు పూర్తి స్థాయి ఖర్చుతో కూడుకున్న చిన్న మరియు మధ్య తరహా డిస్‌ప్లే మాడ్యూల్స్, సొల్యూషన్‌లు మరియు సేవలను ప్రపంచవ్యాప్తంగా అద్భుతమైన నాణ్యతతో అందిస్తుంది. సాంకేతికత మరియు అధిక నాణ్యతతో కూడిన, CNK స్థిరమైన అభివృద్ధిని కొనసాగిస్తుంది, కస్టమర్‌లకు మెరుగైన మరియు స్థిరమైన సేవలను అందించడానికి పనిచేస్తుంది.


విచారణ పంపండి

X
మీకు మెరుగైన బ్రౌజింగ్ అనుభవాన్ని అందించడానికి, సైట్ ట్రాఫిక్‌ను విశ్లేషించడానికి మరియు కంటెంట్‌ను వ్యక్తిగతీకరించడానికి మేము కుక్కీలను ఉపయోగిస్తాము. ఈ సైట్‌ని ఉపయోగించడం ద్వారా, మీరు మా కుక్కీల వినియోగానికి అంగీకరిస్తున్నారు. గోప్యతా విధానం
తిరస్కరించు అంగీకరించు